Доставка бесплатна при заказе от 30 000 ₽
Стеклянные линейные подвесные изоляторы ПСД-70 Е (146) используются для изолирующей подвески провода и грозозащитного троса на подстанциях, электростанциях и воздушных линиях передачи с постоянным и переменным током, на класс напряжения более 1 киловольт с частотой от 50 до 100 Гц, в диапазоне температур от - 60 °С до +50 °С.
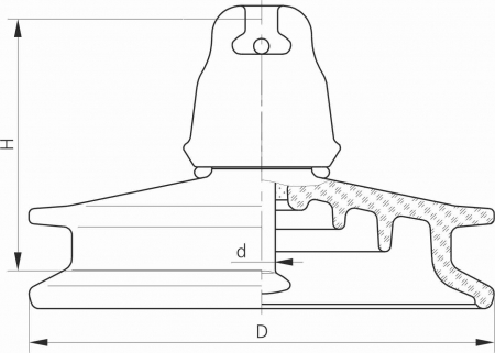
Условное обозначение стеклянного изолятора подвесного ПСД70Е (146):
П - подвесной
С - стекло, материал изоляционной детали
Д- тип стеклодетали
70 - мин. мех. разрушающая нагрузка, кН
Е - индекс модификации
146- строительная высота
| Мин. механическая разрушающая нагрузка | кН | 70 |
|---|---|---|
| Мин. механическая разрушающая нагрузка остатка изолятора | кН | 56 |
| Диаметр, D | мм | 270 |
| Строительная высота,H | мм | 146 |
| Длина пути утечки | мм | 411 |
|
Сферическое соединение, d |
мм | 16 |
| Пробивное напряжение в изоляционной среде | кВ | 130 |
| Выдерживаемое напряжение (в сухом состоянии) | кВ | 75 |
| Выдерживаемое напряжение (под дождем) | кВ | 45 |
| Выдерживаемое импульсное напряжение 1,2/50 +/- | кВ | 110/110 |
| Испытательное напряжение при испытании на пробой импульсным напряжением в воздухе | кВ | 310...340 |
| Напряжение по уровню радиопомех при частоте 0,5МГц | дБ |
60 |
| кВ | 20 | |
| дБ | 86 | |
| кВ |
25 |
|
| Масса | кг | 4,6 |
Для покупки указателей высокого напряжения, изоляторов, выключателей, предохранителей, трансформаторов и другой продукции в нашем интернет-магазине выберите понравившийся товар и добавьте его в корзину. Далее перейдите в Корзину и нажмите на «Оформить заказ» или «Быстрый заказ».
Когда оформляете быстрый заказ, напишите ФИО, телефон и e-mail. Вам перезвонит менеджер и уточнит условия заказа. По результатам разговора вам придет подтверждение оформления товара на почту или через СМС. Теперь останется только ждать доставки и радоваться новой покупке.
Оформление заказа в стандартном режиме выглядит следующим образом. Заполняете полностью форму по последовательным этапам: адрес, способ доставки, оплаты, данные о себе. Советуем в комментарии к заказу написать информацию, которая поможет курьеру вас найти. Нажмите кнопку «Оформить заказ».
Для заказа и уточнения наличия продукции на складе вы можете отправить заявку через наш сайт. Наши специалисты предложат квалифицированные услуги и поддержку по любым вопросам.
Минимальная сумма заказа 3 000 рублей
Оплачивайте покупки удобным способом. В интернет-магазине доступно 2 варианта оплаты:
- Наличные при самовывозе из магазина. Специалист свяжется с вами в день доставки, чтобы уточнить время и заранее подготовить сдачу с любой купюры. Вы подписываете товаросопроводительные документы, вносите денежные средства, получаете товар и чек.
- Безналичный расчет при самовывозе или оформлении в интернет-магазине: банковские карты. Чтобы оплатить покупку, система перенаправит вас на сервер системы ASSIST. Здесь нужно ввести номер карты, срок действия и имя держателя.
Экономьте время на получении заказа. В интернет-магазине доступны разные варианты доставки:
- Бесплатная доставка при покупке от 30 000 рублей по Санкт-Петербургу в пределах КАД, Мурино и Кудрово. Габариты товара: длина до 0,5 м, высота до 0,4 м, ширина до 0,4 м. Общий вес до 80 кг.
- Бесплатная доставка со склада до терминала ТК Деловые Линии и ПЭК в течение 1-2 рабочих дней. Габариты товара: длина до 0,5 м, высота до 0,4 м, ширина до 0,4 м. Общий вес до 80 кг.
- Самовывоз из магазина. Когда заказ поступит на склад, вам придет уведомление. Для получения заказа обратитесь к сотруднику в кассовой зоне и назовите номер. Адрес магазина: проспект Энергетиков 19 к1 лит.Д
- Доставка при помощи транспортных служб в любые города РФ. На выбор заказчика Яндекс GO, Деловые линии, ПЭК или другая транспортная служба. Доставка оплачивается заказчиком.
Все товары по умолчанию отправляются в заводской упаковке. Можно заказать дополнительную упаковку за счет заказчика для более безопасной транспортировки.
