Доставка бесплатна при заказе от 30 000 ₽
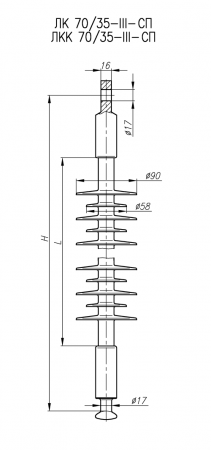
Линейные подвесные стержневые полимерные изоляторы типов ЛК 70/35 и ЛКК 70/35 предназначены для изоляции и крепления проводов и грозозащитных тросов воздушных линий электропередачи и ошиновки распределительных устройств электростанций и подстанций переменного тока напряжением до 35 кВ. Изоляторы могут использоваться как в поддерживающих, так и в натяжных изолирующих подвесках. Изоляторы типа ЛКК – устойчивые к кислотной коррозии – изготавливаются с использованием стеклопластикового стержня типа ECR , применяемого для предотвращения разрушения изоляторов из-за кислотной коррозии стержня в случаях разгерметизации защитной оболочки при актах вандализма или неаккуратном обращении с изоляторами. Таким образом, изоляторы типа ЛКК обладают повышенной устойчивостью к актам вандализма и, соответственно, - более высокой надежностью. Изоляторы выпускаются в четырех исполнениях по типам применяемых оконцевателей: СП, ГП, ГС, СС. По специальному заказу возможны другие исполнения оконцевателей.
| Наименование параметра |
ЛК 70/35-III-СП ЛК 70/35-III-ГП ЛК 70/35-III-ГС ЛК 70/35-III-СС ЛКК 70/35-III-СП ЛКК 70/35-III-ГП ЛКК 70/35-III-ГС ЛКК 70/35-III-СС |
| Номинальное рабочее напряжение, кВ | 35 |
| Наибольшее рабочее напряжение, кВ | 40,5 |
| Выдерживаемое напряжение промышленной частоты под дождём, кВ, не менее | 140 |
| Выдерживаемое напряжение промышленной частоты в сухом состоянии, кВ, не менее | 160 |
| 50%-ое разрядное напряжение промышленной частоты загрязненного и увлажненного изолятора, действующее значение, кВ, не менее | 53 |
| Выдерживаемое напряжение грозовых импульсов, кВ, не менее | 295 |
| Механическая разрушающая сила при растяжении, кН, не менее | 70 |
| Строительная длина, Н, мм | 595 |
| Длина пути утечки, мм, не менее | 1160 |
| Изоляционный промежуток, L, мм | 410 |
| Степень загрязнения изолятора по ГОСТ 9920 (С3), не более | ||| |
| Степень загрязнения атмосферы в районе эксплуатации изолятора (С3А), не более | V |
| Масса, кг, не более | 2,2 |
Изоляторы соответствуют ТУ 3494-006-54276425-2003, ГОСТ 28856, ГОСТ Р 55189, МЭК 61109
Для покупки указателей высокого напряжения, изоляторов, выключателей, предохранителей, трансформаторов и другой продукции в нашем интернет-магазине выберите понравившийся товар и добавьте его в корзину. Далее перейдите в Корзину и нажмите на «Оформить заказ» или «Быстрый заказ».
Когда оформляете быстрый заказ, напишите ФИО, телефон и e-mail. Вам перезвонит менеджер и уточнит условия заказа. По результатам разговора вам придет подтверждение оформления товара на почту или через СМС. Теперь останется только ждать доставки и радоваться новой покупке.
Оформление заказа в стандартном режиме выглядит следующим образом. Заполняете полностью форму по последовательным этапам: адрес, способ доставки, оплаты, данные о себе. Советуем в комментарии к заказу написать информацию, которая поможет курьеру вас найти. Нажмите кнопку «Оформить заказ».
Для заказа и уточнения наличия продукции на складе вы можете отправить заявку через наш сайт. Наши специалисты предложат квалифицированные услуги и поддержку по любым вопросам.
Минимальная сумма заказа 3 000 рублей
Оплачивайте покупки удобным способом. В интернет-магазине доступно 2 варианта оплаты:
- Наличные при самовывозе из магазина. Специалист свяжется с вами в день доставки, чтобы уточнить время и заранее подготовить сдачу с любой купюры. Вы подписываете товаросопроводительные документы, вносите денежные средства, получаете товар и чек.
- Безналичный расчет при самовывозе или оформлении в интернет-магазине: банковские карты. Чтобы оплатить покупку, система перенаправит вас на сервер системы ASSIST. Здесь нужно ввести номер карты, срок действия и имя держателя.
Экономьте время на получении заказа. В интернет-магазине доступны разные варианты доставки:
- Бесплатная доставка при покупке от 30 000 рублей по Санкт-Петербургу в пределах КАД, Мурино и Кудрово. Габариты товара: длина до 0,5 м, высота до 0,4 м, ширина до 0,4 м. Общий вес до 80 кг.
- Бесплатная доставка со склада до терминала ТК Деловые Линии и ПЭК в течение 1-2 рабочих дней. Габариты товара: длина до 0,5 м, высота до 0,4 м, ширина до 0,4 м. Общий вес до 80 кг.
- Самовывоз из магазина. Когда заказ поступит на склад, вам придет уведомление. Для получения заказа обратитесь к сотруднику в кассовой зоне и назовите номер. Адрес магазина: проспект Энергетиков 19 к1 лит.Д
- Доставка при помощи транспортных служб в любые города РФ. На выбор заказчика Яндекс GO, Деловые линии, ПЭК или другая транспортная служба. Доставка оплачивается заказчиком.
Все товары по умолчанию отправляются в заводской упаковке. Можно заказать дополнительную упаковку за счет заказчика для более безопасной транспортировки.
