Доставка бесплатна при заказе от 30 000 ₽
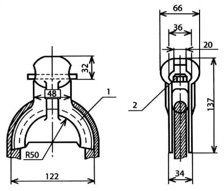
Коуш вилочный под пестик КС-007 – это высококачественный элемент арматуры, используемый в системах ЛЭП и кабельных подвесках. Он предназначен для анкеровки и надежного крепления проводов различного сечения. КС-007 активно применяется при строительстве и модернизации линий электропередач, обеспечивая долговечность и надежность соединений, а также защиту проводов и тросов от высоких нагрузок.
Коуш КС-007 используется для:
- Крепления многопроволочных стальных, сталеалюминиевых и алюминиевых проводов.
- Анкерных соединений в системах ЛЭП и кабельных подвесок.
- Установки узлов проводов при использовании специальных муфт.
- Снижения механических воздействий и предотвращения разрушения металлического троса.
Максимальная разрушающая нагрузка для коуша КС-007 достигает высокой величины, что делает его идеальным для применения на объектах с повышенными требованиями к прочности узлов.
Технические характеристики КС-007:
- Материалы производства. КС-007 изготовлен из прочного металла, выдерживающего значительные физические нагрузки.
- Масса. Облегченная конструкция позволяет упростить монтаж и использовать изделие даже в сложных условиях.
- Разрушающая нагрузка. Конструкция КС-007 рассчитана на значительные механические усилия, выдерживая экстремальные до 60 кН.
- Защитные покрытия. Корпус покрыт антикоррозийными составами, что обеспечивает долговечность и устойчивость к воздействию неблагоприятной среды.
КС-007 идеально подходит для различных монтажных работ, включая установки на кронштейны, анкерные точки и кабельные подвески.
Для покупки указателей высокого напряжения, изоляторов, выключателей, предохранителей, трансформаторов и другой продукции в нашем интернет-магазине выберите понравившийся товар и добавьте его в корзину. Далее перейдите в Корзину и нажмите на «Оформить заказ» или «Быстрый заказ».
Когда оформляете быстрый заказ, напишите ФИО, телефон и e-mail. Вам перезвонит менеджер и уточнит условия заказа. По результатам разговора вам придет подтверждение оформления товара на почту или через СМС. Теперь останется только ждать доставки и радоваться новой покупке.
Оформление заказа в стандартном режиме выглядит следующим образом. Заполняете полностью форму по последовательным этапам: адрес, способ доставки, оплаты, данные о себе. Советуем в комментарии к заказу написать информацию, которая поможет курьеру вас найти. Нажмите кнопку «Оформить заказ».
Для заказа и уточнения наличия продукции на складе вы можете отправить заявку через наш сайт. Наши специалисты предложат квалифицированные услуги и поддержку по любым вопросам.
Минимальная сумма заказа 3 000 рублей
Оплачивайте покупки удобным способом. В интернет-магазине доступно 2 варианта оплаты:
- Наличные при самовывозе из магазина. Специалист свяжется с вами в день доставки, чтобы уточнить время и заранее подготовить сдачу с любой купюры. Вы подписываете товаросопроводительные документы, вносите денежные средства, получаете товар и чек.
- Безналичный расчет при самовывозе или оформлении в интернет-магазине: банковские карты. Чтобы оплатить покупку, система перенаправит вас на сервер системы ASSIST. Здесь нужно ввести номер карты, срок действия и имя держателя.
Экономьте время на получении заказа. В интернет-магазине доступны разные варианты доставки:
- Бесплатная доставка при покупке от 30 000 рублей по Санкт-Петербургу в пределах КАД, Мурино и Кудрово. Габариты товара: длина до 0,5 м, высота до 0,4 м, ширина до 0,4 м. Общий вес до 80 кг.
- Бесплатная доставка со склада до терминала ТК Деловые Линии и ПЭК в течение 1-2 рабочих дней. Габариты товара: длина до 0,5 м, высота до 0,4 м, ширина до 0,4 м. Общий вес до 80 кг.
- Самовывоз из магазина. Когда заказ поступит на склад, вам придет уведомление. Для получения заказа обратитесь к сотруднику в кассовой зоне и назовите номер. Адрес магазина: проспект Энергетиков 19 к1 лит.Д
- Доставка при помощи транспортных служб в любые города РФ. На выбор заказчика Яндекс GO, Деловые линии, ПЭК или другая транспортная служба. Доставка оплачивается заказчиком.
Все товары по умолчанию отправляются в заводской упаковке. Можно заказать дополнительную упаковку за счет заказчика для более безопасной транспортировки.
